【導讀】在前期試驗 電燈泡內通有交流電,為什么看不到燈泡在閃爍? 中所使用的小型熒光燈不慎燈管活動了。下面將它拆開,分析一下相關的電路設計。

基本拆解后的熒光燈泡
在電路板上可以看到有兩個剛剛分析過的 高壓小功率三極管 MFV13001 。這個電路也說明了這類的高壓小功率開關三極管被大量使用的場合。
02熒光燈管
1.基本結構
熒光管實質上是一個連同的管道。

熒光燈管
2.兩端燈絲參數
在冷的情況下,使用萬用表,測量兩端的燈絲的電阻大約11歐姆左右。
施加0 ~ 9V的直流電,可以觀察到兩端的燈絲被點亮。

燈絲電壓與電流
volt=[0.0267,0.1214,0.2515,0.3824,0.5172,0.6560,0.7989,0.9435,1.0941,1.2410,1.3925,1.5414,1.6941,1.8479,2.0038,2.1517,2.2964,2.4428,2.5946,2.7501,2.9031,3.0619,3.2145,3.3672,3.5234,3.6831,3.8392,4.0270,4.1933,4.3243,4.4924,4.6604,4.8844,4.9898,5.1465,5.3118,5.4593,5.6314,5.7907,5.9493,6.0948,6.2258,6.3982,6.5737,6.7414,6.8811,7.0452,7.2017,7.3725,7.5202]
curr=[0.0017,0.0094,0.0200,0.0297,0.0384,0.0457,0.0523,0.0576,0.0623,0.0663,0.0700,0.0731,0.0764,0.0790,0.0817,0.0839,0.0860,0.0876,0.0901,0.0920,0.0939,0.0958,0.0975,0.0993,0.1009,0.1028,0.1042,0.1064,0.1079,0.1092,0.1109,0.1125,0.1151,0.1157,0.1171,0.1190,0.1199,0.1215,0.1229,0.1244,0.1256,0.1267,0.1282,0.1297,0.1312,0.1323,0.1336,0.1350,0.1363,0.1375]

不同電流下的燈絲電阻
需要說明的是,在開始的常閉由于燈絲溫度是之前的預加熱的,所以電阻有些變化的。
3.燈管高壓擊穿
使用在 高壓測試平臺:高壓包產生高電壓基本測試參數 高壓平臺測試燈管擊穿電壓。

燈管施加直流電壓
v=[9.4532,18.6791,49.7863,85.3513,120.7534,156.6672,192.7292,229.1864,265.4262,301.4586,337.6589,373.6912,410.5140,446.6550,482.7467,518.4925,554.9201,590.6462,626.4612,214.7714,214.2774,213.1808,205.3756,204.6148,205.3163,205.1384,204.8420,205.1977,205.0989,205.1780,205.0298,204.8223,205.2175,204.9211,205.4546,205.7609,205.8893,206.1166,206.2549,206.3240,206.1363,206.4920,206.2351,206.3043,206.0672,206.1561,206.4228,206.5216,206.3833,206.4821]
c=[-0.4000,-0.4000,-0.4000,-0.4000,-0.4000,-0.4000,-0.4000,-0.4000,-0.4000,-0.4000,-0.4000,-0.4000,-0.4000,-0.4000,-0.4000,-0.4000,-0.4000,-0.4000,-0.4000,1232.7000,1354.9000,1472.7000,1614.6000,1731.2000,1837.6000,1948.2000,2053.1000,2156.8000,2260.0000,2362.0000,2464.0000,2572.0000,2693.0000,2822.0000,2951.0000,3094.0000,3233.0000,3367.0000,3502.0000,3634.0000,3763.0000,3882.0000,4005.0000,4132.0000,4256.0000,4353.0000,4505.0000,4626.0000,4749.0000,4847.0000]
4.空氣中點燃燈絲
在操作的時候不慎燈管破裂了。取出燈管兩端的燈絲,測試施加電壓,在空氣中觀察對應的點亮的情況。
燈絲開始出現閃亮,隨后黯淡下去。但是燈絲并沒有完全氧化燒斷。

施加+10V電壓燈絲點亮的情況
使用5V加熱燈絲。可以觀察電流的變化。如果口對著燈絲吹氣,加速燈絲散熱,電流會有增加變化。這是因為鎢絲的電阻和其溫度有關系。
03驅動電路
1.實際的PCB

驅動電路板
2.參考SCH

電路圖參考圖

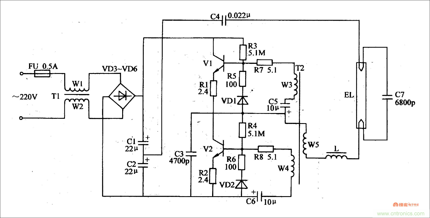
熒光電子鎮流器參考電路
3.主要器件參數
(1) 諧振電感電容
● 電感 L = 3.469mH
● 電容 C= 47.56nF
諧振頻率:

這個頻率與 電燈泡內通有交流電,為什么看不到燈泡在閃爍? 測量光強的變化對應的頻率(10kHz)是相接近的。
結論
對于手中一個破損的小型熒光燈泡的分析和實驗,獲得以下數據:
● 燈管在燈絲冷的情況下可以被600V高壓擊穿;
● 燈管內部所使用的三極管通常使用13001,13002這類小型高壓三極管進行推動振蕩。
● 燈管是依靠LC諧振高壓來驅動的。
原創:卓晴
免責聲明:本文為轉載文章,轉載此文目的在于傳遞更多信息,版權歸原作者所有。本文所用視頻、圖片、文字如涉及作品版權問題,請聯系小編進行處理。
推薦閱讀:





