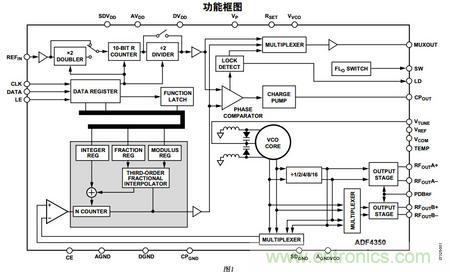
所有片內寄存器均通過簡單的三線式接口進行控制。 該器件采用3.0 V至3.6 V電源供電,不用時可以關斷。功能圖如下,懂鎖相環的請仔細品讀。不懂的可以直接忽略掉,這里樓主我用它來產生一個高頻的信號去調制一個低頻的信號源,然后讓這信號去充當一個很高大上的東西的時鐘,這里產生的信號時1G。

圖1:功能框圖
這個片子內部資料原理可能需要去仔細品讀。但是時序卻是普通的SPI。一般人都能把他寫出來。但是這里仔細看PDF會發現有BUG。我始終只看到write operation。 卻沒有發現有read operation,可能是自己對于SPI不夠很深入的了解吧?;蛘逷DF根本沒有給出如何去read。看時序你就發現。

圖2:SPI時序圖
另外此chip有6個寄存器,分別可以設置他的相關參數。包括reference、vco的分頻以及power。這里可以在官網下載一個關于4350的soft。只需把需要的參數輸進去,寄存器能夠自行進行配置。原理圖如下:

圖3:原理圖
這里采用的MCU為MSP430 LAUNCHPAD.4線控制。分別為:clk,data,le,pd.LD是鎖定腳。如果頻率沒有鎖定此腳會輸出低電平。只有鎖定了才會輸出高。所以調試時候下載程序之后可以先檢測這腳是不是為高。這里這個很重要。另外晶振采用的10M。有源的。不能太高,太高了當時用的一個12V恒溫晶振效果沒出來(這里可能不是那個恒溫晶振的問題,可能也是那板子的問題)。
調試心得:一般的示波器看不到波形的,這個輸出最低200M,示波器的采樣率一般也就1G或者2G。是不能看到200M及1G的信號的,我用的那個就是60M的。當時還以為又出問題了。為何LD鎖定了輸出高電平但是卻看到的信號始終為0,后來不知怎么的突然看到示波器上面的標注。才想起用的頻譜儀!下面是頻譜儀的圖片。

圖4:頻譜儀
相關閱讀:
ADF4350:ADI內置片上低噪聲VCO的鎖相環
泰克推出發射器和接收器一致性與調試測試套件
養成使用示波器的好習慣,調試神馬的都是小case



