- 壓力傳感器的原理及其應用電路設計
- 利用硅晶體的壓阻效應
- 選用高精度低噪聲儀用放大器AD620
- 選用雙積分A/D轉換器
1.引言
汽車傳感器是汽車電子化、智能化的基礎和關鍵,而其中使用較多、發展最快的是壓力傳感器。汽車壓力傳感器應用在汽車的很多系統中,如電子檢測系統、保安防撞系統等。其中應用在輪胎氣壓方面的目的在于最大限度地減少或消除高壓爆胎和低壓輾胎造成的輪胎早期的損壞,使輪胎經常保持標準氣壓, 延長輪胎的壽命,降低輪胎的消耗,提高經濟效益。有報道說,將微型壓力傳感器埋置于汽車輪胎中,測量其中氣壓,以控制對輪胎的充氣量,避免過量和不夠,由此可節省百分之十的汽油。
2.汽車壓力傳感器
2.1 壓力傳感器的原理和應用分類
傳感器是將各種非電量(包括物理量、化學量、生物量等)按一定規律轉換成便于處理和傳輸的另一種物理量(一般為電量)的裝置。傳感器一般由敏感元件、轉換元件和測量電路三部分組成,有時還需外加輔助電源。 傳感器方框圖如圖1所示。

圖1 傳感器方框圖
制造半導體壓力傳感器的基本原理是利用硅晶體的壓阻效應。單晶硅材料在受到應力作用后,其電阻率發生明顯變化,這種現象稱為壓阻效應。
壓力傳感器所用的元件材料是具有壓阻效應的單晶硅、擴散摻雜硅和多晶硅。根據晶體不受定向應力時,電導率是同性的,只有受定向應力時才表現出各向異性,由于應力能引起能帶的變化,能谷能量移動,導致電阻率的變化,于是就有電阻的變化,從而產生壓阻效應。單晶硅效應包括n型和p型硅壓阻效應。選用擴散硅目的在于在設計制造壓力傳感器時可根據不同溫度下硅擴散層的壓阻特性選擇合適的擴散條件,力求使壓力傳感器具有良好的性能。多晶硅在傳感器中有廣泛的用途,可作為微結構和填充材料、敏感材料。
壓力傳感器按用途分類主要是壓力監視、壓力測量和壓力控制及轉換成其他量的測量。按供電方式分為壓阻型和壓電型傳感器,前者是被動供電的,需要有外電源。后者是傳感器自身產生電荷,不需要外加電源,根據不同領域對壓力測量的精度不同分為低精度和高精度的壓力傳感器。
[page]
2.2 氣壓傳感器
1)能和原理:主要是用來檢測氣壓的傳感器。在硅片的中間,從背面腐蝕形成了正方形的膜片,利用膜片將壓力轉換成應力,在膜片的表面,通過擴散雜質形成了四個p型測量電阻,它們按橋式電路連接,利用壓阻效應將加在膜片上的應力變換成電阻的變化,此電阻的變化通過橋式電路之后,在橋式電路的兩個輸出端之間,以電位差的形式對外輸出。傳感器原理圖如圖2所示。

圖2 傳感器原理圖
2)氣壓的輸出特性:氣壓與輸出關系曲線如圖3所示,是一接近線性關系。

圖3 氣壓與輸出關系曲線
3.輪胎氣壓測量及電路設計
下面以測量輪胎氣壓為例詳細闡述氣壓傳感器在汽車輪胎方面的應用。此種設計可做成一種便攜式的裝置,測量時將氣壓傳感器的表置于輪胎氣門嘴上,這時胎壓作用于傳感器的膜片上,通過壓阻效應和系列變換輸出微弱的電壓信號,將電壓信號進行相應處理顯示電壓值。由此可知不同的氣壓對應著不同的電壓值,即氣壓值和電壓值是一一對應的,從而間接測量了氣壓值。胎壓測量電路方框圖如圖4所示。

圖4胎壓測量電路方框圖
3.1 氣壓值和電壓值的相互轉換
任何一種型號的輪胎都有其標準氣壓, 某型號輪胎標準氣壓為P0壓超過P1高壓,而低于P2為低壓。那么標準氣壓!,經過此種裝置顯示為一定的電壓值V0壓為P1高壓時則顯示V1,而達到低壓狀態P2時則顯示V2,氣壓的強弱通過此種裝置體現在電壓值上,當電壓值在V1-V2范圍內變化時,則氣壓是符合標準的。若電壓值高于V1則為高壓狀態,低于V2則為低壓狀態,那么此時應采取一系列措施改變輪胎氣壓值在標準范圍內,從而起到保護輪胎的效果。
[page]
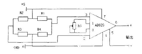
3.2 電壓信號放大電路
我們選用的高精度低噪聲儀用放大器AD620,可以用在傳感器輸出信號小的放大器中,如光電池傳感器、應變片傳感器以及壓力傳感器等。由于它具有低噪聲、增益精度高、增益溫度系數小和高線性度等優良性能。用于此系統中是非常理想的。AD620是一種只用一個外部電阻就能設置放大倍數為1-1000的儀表放大器,具有良好的直流性能和交流性能,AD620的體積小、功耗低成為應用在壓力傳感器中的重要因素,傳感器信號放大電路如圖5所示。

圖5 傳感器信號放大電路
3.3 電壓信號數字化和顯示
放大后的模擬電壓經過A/D轉換器實現模擬量到數字量的轉換。A/D轉換結果通過計數譯碼電路變換成7段譯碼,最后驅動顯示出相應的數值, 傳感器驅動顯示電路方框圖如圖6所示。

圖6 傳感器驅動顯示電路
選用雙積分A/D轉換器MC14433構成3 1/2的數字電壓顯示, 采用動態掃描顯示有多路調制的BCD碼輸出和超量程輸出端,便于實現自動控制。MC1413為集成電路驅動器, 它含有7個反相驅動單元,各單元采用達林頓晶體管電路。CC4511為7段譯碼驅動。MC14433提供輸出可調的基準電壓, 當基準電壓為一定值時,輸出電壓范圍為定值。
4. 結束語
汽車壓力傳感器在輪胎方面的應用正在不斷地改進, 其中有很多種方式,如采用無線電發射和接受方式來測量氣壓的高低。汽車壓力傳感器的品種正在不斷地增加,功能正在不斷地完善。一般地說來,開關式傳感器逐漸被線性壓力傳感器替代, 普通性的逐漸被高性能、多功能的傳感器取代,模擬式壓力傳感器逐漸被數字式傳感器、智能化傳感器取代。



