【導讀】電源測控涉及到數據的測量、控制、通信和人機對話等技術,其中測量與控制方案的合理性是電源系統可靠性的關鍵。本文針對這一點,著重探討了一種總線式測控方案在智能高頻開關組合電源中的具體應用。
智能高頻開關組合電源,一般采用雙路市電通過電氣互鎖作為交流輸入,并提供防雷措施和用戶交流分路。其輸入的交流經高頻開關整流模塊整流后,產生用戶所需要的直流電(通常有12V、24V、48V、110V、220V等電壓等級),然后將輸出直流連接到電池組、用戶直流分路上,這就是智能高頻開關組合電源的基本原理,如圖1所示。
設計原理
電源監控系統需對電源的各種模擬量,開關量進行精確測量,它包括:交流單元的電壓、電流、頻率,防雷模塊及交流分路的工作狀態;直流單元的系統合閘母線電壓、控制母線電壓,各控制母線分支電流及工作狀態;電池單元的電池組電壓和電流,單節電池電壓,電池溫度及充電和開關量(門窗開關、空調開關,火警、水警、煙警,有無人職守等)情況;絕緣檢測單元的各母線支路的絕緣狀態;每個整流模塊運行參數的瞬態變化情況;以及對市電切換,降壓硅堆調壓,電池管理(均充、浮充、限流、穩流、放電測試、電池溫度補償、饋線電阻補償),多級電池深放電保護,用戶告警節點等進行實時控制;對各種運行參數進行分類設置,及時響應遠程用戶的集中監控的各種要求;同時還要考慮系統電氣設計的合理性,裝配和調試的可操作性,工程服務的易維護性。根據以上功能情況,特提出如下的測控方案,如圖2所示。

圖1:智能高頻開關電源原理框圖

圖2:電源監控系統總線測控原理框圖
該電源監控測試方案的明顯特點是:在測控總線BUS上外掛了交流檢測板,直流檢測板,電池檢測板,絕緣檢測板,環境檢測板,電氣控制板。這6種板可根據用戶需要進行取舍,并且在整機電氣設計時,這些板可根據設計人員的需要任意布局,克服了那種把所有信號線一律接到監控器背部的各種接口上的弊端,從而大大提高了裝配調試和工程服務人員的工作效率,同時克服了各種檢測、控制板與監控器以通信方式進行數據交流而導致測控實時性、可靠性大打折扣的弱點。

圖3:測控主板以PCF80C552為核心
硬件設計
測控主板
測控主板以PCF80C552為核心,向外擴展了INS8250A通用異步收發器UART芯片,作為電源系統實現集中監控或遠程監控的通信接口。在圖3中,PCF80C552的PWM0、PWM1用作整流模塊內部反饋環節的控制信號接口,MAX813作為單片機的自動復位電路,ATMEL93C66用作保存系統運行參數的EEPROM,在P0口的8位數據總線上擴展了4×4行列式鍵盤接口和240×128點陣式的液晶顯示接口。另外擴展了由D觸發器SN74HC574、反相器SN74HC04、施密特觸發器SN74HC14構成的8位數據驅動接口,作為總線測控接口(插座X1的腳9~16)的8位輸入控制信號(DC0—DC7),總線測控接口插座X1的腳1、3、5分別是檢測板的+15V、GND、-15V,腳7、8分別是檢測板輸出的數字信號Digital、模擬信號Analog,來自各檢測板的開關量Digital分時送入單片機的P1.0口。12位并行輸出的高速A/D轉換器MAX120,把每塊檢測板的Analog信號精確、高速、分時地轉換成12位Digital信號送入80C552的P5(低8位)和P4口(高4位),并且通過總線測控接口的8位輸入控制信號(DC0—DC7)可以對電氣控制板進行驅動觸發。所以,總線測控接口兼有單片機的前向通道和后向通道的雙重作用,實現模擬信號、數字信號的檢測和電氣控制。
總線測控接口電路
如圖4所示,在測控總線上外掛了8塊檢測、控制板(特殊用戶需要多組電池,故設計了3塊電池檢測板),而且控制信號(DC0—DC7)與采樣信號(Analog、Digital)的硬件電路是各檢測板的共享通道。這就需要單片機能自動識別8塊檢測板。因此,必須對8位控制信號(DC0—DC7)進行譯碼。由模擬轉換開關U5(SN74HC4051)和地址開關X2構成8塊檢測板的板選地址電路,DC5、DC6、DC7分別送入U5的A、B、C口,以000~111選通X0~X7,在調試時,只須打開每塊檢測板上的X2地址開關中的一路即可起到板選功能(見表1)。然后,板選信號送入到與非門U8A、U8B、U8C(SN74HC10)單元,同時經施密特觸發器U6B(SN74HC14)單元送入或門U7A(SN74HC4075)單元。如果板選信號為低電平(L)時,U7A、U8A、U8B、U8C的輸出信號為高電平(H),分別對模擬開關U1、U2、U3、U4的INH口進行封鎖,檢測板無信號輸出或輸入;如果板選信號為高電平(H),U7A和U8A、U8B、U8C的輸出只取決于DC3、DC4。當DC4、DC3為00時,只有U7A輸出低電平去選通U1,U8A、U8B、U8C輸出為H而使U2、U3、U4被鎖住;當DC4、DC3為01時,只有U8A輸出L選通U2;當DC4,DC3為10時,U8B選通U3;當DC4、DC3為11時,U8C選通U4(見表2)。DC3與DC4經過由小或非門(由U7B、U6E、V4組成)和大或非門(由V1、V2、U6A和R2構成),實現對U5的選通控制。在U1~U4其中之一被選通時,通過DC0、DC1、DC2分別送入其A、B、C口,從而控制模擬轉換開關對輸入信號X0~X7的數值進行采樣,或對輸出信號X0~X7進行控制(見表3)。U1、U2共采集16路數字信號DIG1~DIG16(如:防雷狀態,交流分路和直流分路開關狀態,母線絕緣狀態等),被選通的數字信號(Digital)分時地經過總線測控接口的腳7輸入到CPU(PCF80C552)的P1.0口;U3、U4共采集16路模擬信號AN1~AN16(如:電壓,電流,溫度,頻率等),被選通的模擬信號分時地經過總線測控接口的腳8輸入到12位A/D轉換器MAX120的AIN口,經MAX120高速精確轉換后并行輸出的12位Digital信號送入到CPU的P5(低8位),P4(高4位)口。總之,DC7,DC6,DC5可選定8塊檢測板,DC4,DC3可選定4只模擬轉換開關,DC2,DC1,DC0可選定每只模擬轉換開關的8路信號,按照乘法原理,該總線測控接口通過DC0-DC7可以共檢測8×4×8即256路信號。表4列出了8塊檢測板的信號訪問地址,實際上,絕緣和電池檢測板的DIG1~DIG16為模擬量,電氣控制板的AN1~AN16為觸發數字量。

圖4:總線測控接口電路

圖5:直流、交流、環境檢測板的巡檢流程圖

圖6:絕緣、電池檢測板的巡檢流程圖
表1:DC5~DC7譯碼表

表2:DC3、DC4譯碼表

表3:DC0~DC2譯碼表

表4:檢測板信號地址

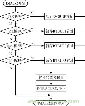
需要說明的是,圖4所示的總線測控接口電路只適用于直流、交流、環境檢測板,其它檢測板的總線測控接口電路需作適當調整。對于電氣控制板,只要把U1~U4的X腳接地,X0~X7接上拉電阻后通過施密特觸發器接上繼電器,即可實現對32路繼電器的控制。對于絕緣檢測板,只要把U1~U4的X腳相連,然后連接到X1的腳8,即可實現對32路母線支路的絕緣檢測。而對于電池檢測板,由于每只電池電壓需經差動比例運算處理,故一只雙8路模擬轉換開關MAX397可選通8節電池,U7A、U8A、U8B、U8C控制信號可擴展4只MAX397,即可巡檢32只電池。每節電池電壓經分時處理后,產生的電池極性信號和電池修正電壓信號分別輸入到總線測控接口的Digital和Analog引腳。并且,3只電池檢測板在軟件上關聯后最多可以測量96節電池。當然,根據用戶需要,可以把其它檢測板換成電池檢測板,從而增加了電池檢測的規模。
總線式測控技術是智能高頻開關組合電源達到高可靠性、智能化、可維護性的基礎,也是少人或無人值守的高效、可靠、低污染綠色電源的智能化核心技術之一。其顯著特點是:
1)滿足了各種型號電源的不同監控方案的要求;
2)軟硬件的模塊化極大地方便了新產品的開發工作;
3)增強了電氣設計人員整機布局的靈活性;
4)提高了工程服務的維護效率。




